找回密碼
 立即注册

QQ登錄

只需一步,快速開始

查看: 8710|回復: 0

[公告] 论坛密码安全提示

[複製鏈接]
發表於 2013-3-1 06:54:42 | 顯示全部樓層 |閱讀模式
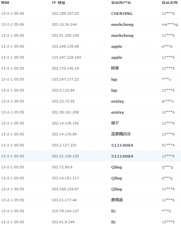
经查看后台錯誤纪录,曾有人使用和论坛id同密码还有123456这兩个密码尝试登陆所有会员(使用什麼密碼看不出來,只是猜起來應該是),为了大家帐户安全,建议论坛密码不要过于简单,也不要和自己的平时重要密码相同,但前提是不要自己也忘记喔。可以看下面的圖,在凌晨5點多,時間是一個時間,靠手動應該做不到效率這麼高的。

gongji.png
另外一个人注册一个id就够用了吧,怎么我发现有人注册了接近10个id,这个也能升值吗{:14:}?
您需要登錄後才可以回帖 登錄 | 立即注册

本版積分規則

Archiver|手機版|新住民大陸配偶論壇

GMT+8, 2026-3-10 10:22 , Processed in 0.033121 second(s), 20 queries .

Powered by Discuz! X3.5

© 2001-2025 Discuz! Team.

快速回復 返回頂部 返回列表